在現代電源管理領域,對于高效、可靠的PWM控制器的需求日益增長。LP8773H,由Chip Hope Micro-electronics LTD開發,正是一款滿足這些需求的高性能第二代準諧振PWM隔離反激控制器。本文將詳細介紹LP8773H的供電電壓、內部框架圖以及典型應用,展現其在電源管理領域的卓越性能。
LP8773H的供電電壓范圍廣泛,推薦工作范圍為11至29伏特。這一廣泛的電壓范圍使得LP8773H能夠適應不同的電源環境,確保在各種條件下都能穩定工作。此外,LP8773H還具備VDD欠壓、過壓以及鉗位保護功能,進一步增強了其在不同電壓條件下的穩定性和可靠性。

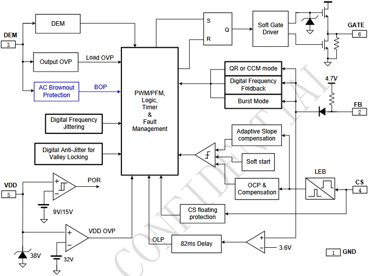
LP8773H的內部結構設計精巧,集成了多種保護功能和控制機制。其內部框架包括但不限于以下幾個關鍵部分:
數字抗抖動技術:實現無音頻噪聲操作,提升用戶體驗。
數字抖頻技術:優化EMI性能,滿足嚴格的電磁兼容性要求。
多模式控制方式:根據負載情況自動調整工作模式,提高功率轉換效率。
內置軟啟動功能:減少啟動時的電流沖擊,保護電路。
管腳浮空保護:防止因管腳浮空導致的電路故障。
逐周期電流限:確保電流在安全范圍內,防止過載。
LP8773H的典型應用包括但不限于隔離AC/DC反激變換器和小家電電源。其在小家電電源領域的應用尤為突出,如電磁爐、電飯煲、咖啡機等。LP8773H的高效率和高可靠性使其成為這些設備的理想選擇。

LP8773H的典型應用電路包括EMI濾波器、AC輸入、VDD供電、GATE驅動、FB反饋、CS電流采樣和DEM退磁檢測等。這些組件共同工作,確保了LP8773H在各種應用中的高性能表現。
LP8773H作為一款高性能的準諧振PWM控制器,以其寬泛的供電電壓范圍、精巧的內部框架設計和廣泛的典型應用,成為了電源管理領域的佼佼者。無論是在家用電器還是工業設備中,LP8773H都能提供穩定、高效的電源轉換解決方案。
如果需要獲取LP8773H完整版規格書請聯系三佛科技官網右側在線客服~,免費提供樣品和技術支持!